合金钢材料,镀镍,双剪梁结构,焊接密封,压向承载。
防护等级IP68
适用于电子汽车衡、轨道衡、料斗秤及各类电子称重设备。
推荐选择型号:
| xxklb | C3/A5M/B10M | HM9E-xx-xxK-12B |
| 22t-100t(50klb-200klb)通过OIML C3级认证 50klb-200klb通过NTEP A5M/B10M认证 | ||
技术指标
| 额定载荷 | Klb | 50/65/100/125/200 | ||
| t | 20/30/45 | |||
| 精度 | C3 | A5M | B10M | |
| 认证 | OIML R60 C3 | III 5000多只 | IIIL10000多只 | |
| 最大检定分度数 | n max | 3000 | 5000 | 10000 |
| 最小检定分度值 | v min | Emax/10000 | Emax/5000 | Emax/15000 |
| 综合误差 | (%FS) | ≤±0.020 | ≤±0.026 | ≤±0.050 |
| 蠕变 | (%FS/30min) | ≤±0.016 | ≤±0.017 | ≤±0.040 |
| 温度对输出灵敏度的影响 | (%FS/10℃) | ≤±0.011 | ≤±0.013 | ≤±0.040 |
温度对零点输出的影响 | (%FS/10℃) | ≤±0.015 | ≤±0.014 | ≤±0.020 |
| 输出灵敏度 | (mv/v) | 3.0±0.003 | ||
| 输入阻抗 | (Ω) | 700±7 | ||
| 输出阻抗 | (Ω) | 703±4 | ||
| 绝缘阻抗 | (MΩ) | ≥5000(50VDC) | ||
| 零点输出 | (%FS) | ≤±1.0 | ||
| 温度补偿范围 | (℃) | -10~+40 | ||
| 允许使用温度范围 | (℃) | -35~+70 | ||
| 推荐激励电压 | (V) | 5~12(DC) | ||
| 最大激励电压 | (V) | 18(DC) | ||
| 安全过载范围 | (%FS) | 150 | ||
| 极限过载范围 | (%FS) | 300 | ||
| ATEX等级(可选) | II1G Ex ia II1C T4 II1D Ex iaD20 T73℃ II3G Ex nL IIC T4 | |||
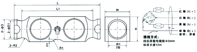
外形尺寸mm(inch)

| 量程 | L | L1 | H | H1 |
20t~60t 50Klb~125Klb | 260 (10.24) | 215.9 (8.5) | 76.2 (3.0) | 7 (0.28) |
100t 150Klb~250Klb | 304 (11.97) | 254 (10.0) | 86.36 (3.4) | 10 (0.39) |
| 量程 | W | W1 | D | D1 | R1 | R2 |
20t~60t 50Klb~125Klb | 76 (2.99) | 55.9 (2.2) | 61 (2.4) | 52.3 (2.06) | 25.4 (1.0) | 25.4 (1.0) |
100t 150Klb~250Klb | 86.1 (3.39) | 63.5 (2.5) | 70 (2.76) | 59.7 (2.35) | 38.1 (1.5) | 38.1 (1.5) |
服务热线:400-1010-998
您现在的位置:
